无动力滚刷清扫器
所属分类:滚刷清扫器
产品简介:用途:★总则YQXQ-2 系列无动力滚刷式皮带清扫器是我公司*新研发的新型···
配套服务:支持定制 物流配送 免费安装 使用培训
YQXQ-2 系列无动力滚刷式皮带清扫器是我公司*新研发的新型耐磨清扫器。具备方便更换耐磨滚刷,具有快速清除 皮带工作皮带工作面上的物料。高性能防震设计等特点。YQXQ-2 系列无动力滚刷清扫器与YQHPU**道清扫器配套使用,清扫效果更佳。
YQXQ-2 系列无动力清扫器滚刷的材质为进口尼龙丝1010 材质,简称PA66 该材质具有高耐磨性。目前仅有美国、德国等极少数国家能够生产。
独特的拉紧装置配合高性能进口轴承,能够使毛刷在皮带不断抖动的情况下,能够紧密的贴附在皮带上,始终保持紧贴着皮带,调节无动力滚刷清扫器滚刷的贴合度无需拆卸清扫器,仅需拉紧上面的花兰即可。该清扫器清扫效果明显, 持久耐用,受到用户的一致好评。
★安装
本工艺规格适应于各种皮带输送机。广泛用于冶金、建材、化工、热力电厂、散装码头、煤矿、食品加工等行业.
★清扫器滚刷
本系列产品品种齐全,范围覆盖所有带宽,共计十种规格,用户可以根据现场使用情况任意选用
★安装措施
使用清扫器时,必须严格执行行业指定的安全规程,安装前必须切断电源,安装完毕,认真检查设备是否牢固以及 工作现场周围有无异常后,方可按业主操作要求通电试运 行。
安装和维护本设备时,需要使用标准机修工具。
产品说明
输送带输送的物料往往带有粘性物质,如煤尘、泥浆、粉状物料, 其中一部分会粘在输送带工作面上,在卸料时不能完全卸掉,随着皮带运转会粘在托辊上,长时间会造成以下后果:
1. 物料进入托辊的壳体内,从而增大轴承磨损,托辊壳体粘上物料会损伤和拉毛输送带的面胶,加速输送带损坏。
2. 粘着物进入尾轮和改向滚筒,物料会粘在滚筒表面上,且越粘越多,造成输送带跑偏,增加输送带磨损,酿成不良后果。
3. 物料粘在驱动滚筒上,加大对滚筒的摩擦力,会引起输送带面胶和滚筒包胶层的损坏。
4. 物料没有及时清除,在整个工作通道内会形成落料区,造成环境污染,清扫劳动量增加,影响员工身心健康,增加企业成本。
因此,为保证带式输送机正常运转,必须将输送带上的附着物清扫干净。如果清扫装置良好,对托辊、输送带等的寿命都可以延长。由此可见,清扫器在带式输送机上有着不可忽视的作用。
我公司设计的被动滚刷清扫器用于清扫回程皮带或卸载滚筒下部皮带工作面,属二道或三道清扫器。通过清扫滚刷刷尖与带面的适当接触,有效清除皮带表面的粘附物,并具有防止输送带跑偏、预防事故,延长输送带及托辊的使用寿命、避免扬尘、改善环境、节约成本等功能。刷毛采用高弹性耐磨尼龙丝,也可采用防静电高弹性尼龙丝、耐磨橡胶等优质材料制作,适用于各种行业各类带宽输送机,尤其对难以用常规清扫器的花纹皮带效果尤佳,是带式输送机*忠实的“清洁工”。
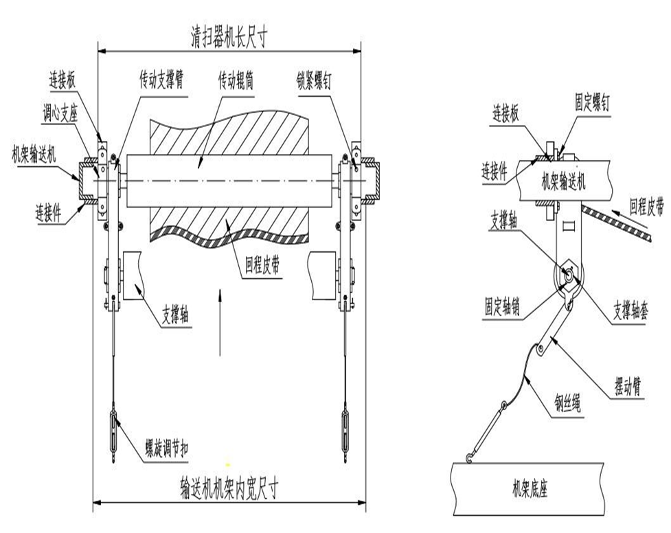
结构示意图

无动力滚刷皮带清扫器及安装尺寸表
单位:mm
型号规格 | 适应带宽 | 托辊长度 | 刷辊长度 | 中心距 |
YQXQ-2-B500 | 500 | 600 | 500 | 740 |
YQXQ-2-B650 | 650 | 750 | 650 | 890 |
YQXQ-2-B800 | 800 | 950 | 800 | 1090 |
YQXQ-2-B1000 | 1000 | 1150 | 1000 | 1290 |
YQXQ-2-B1200 | 1200 | 1400 | 1200 | 1540 |
YQXQ-2-B1400 | 1400 | 1600 | 1400 | 1740 |
YQXQ-2-B1600 | 1600 | 1800 | 1600 | 1990 |
YQXQ-2-B1800 | 1800 | 2000 | 1800 | 2190 |
YQXQ-2-B2000 | 2000 | 2200 | 2000 | 2420 |
通过两个支座将清扫器安装在带式输送机的机架上,使传动辊筒与输送机回程皮带的非工作面接触,并产生适当的压力。当输送机运转时利用摩擦力使传动托辊跟随输送机旋转,经传动链条带动清扫滚刷旋转。清扫滚刷的旋转方向与回程皮带的运动方向相反,从而将粘附在回程皮带工作面上的附着物弹扫下来,达到清扫目的。
YQXQ-2系列无动力滚刷皮带清扫器是根据目前普遍使用的清扫器存在的缺陷,而创新设计的新产品。其特点如下:
1. 优化设计,便于安装,调整方便,简捷实用。
2. 清扫点弹性接触,方法合理,效果极佳。
3. 对输送带无磨损,更无刮伤,有效的延长皮带的使用寿命
4. 安全可靠,故障率低,使用寿命长,维修费用少。刷毛可采用高弹性尼龙丝,亦可以采用防静电高弹性尼龙丝,耐磨橡胶等优质材料制作。通用于煤矿、水泥厂、钢铁厂、发电厂等各种物料输送皮带系统。
YQXQ-2无动力滚刷皮带清扫器可用于输送机的头部清扫,亦可用于中段清扫。如下图所示:
安装方法
YQXQ-2系列无动力滚刷皮带清扫器将其安装在输送机机架内,使
“传动滚筒”在回程皮带上面,清扫刷辊在回程皮带下面。如下图所示:

1. 开箱检验:安装前,首先打开包装箱,对照《装箱清单》清点随机附件是否齐全;
2. 校对型号:测量清扫器的尺寸是否与输送机尺寸相符。
3. 参照支座上安装孔的位置尺寸在带式输送机的机架上打孔。
4. 摘掉刷辊:先将清扫器两端的盖板打开,然后拆掉轴承螺丝,将滚刷从清扫器上摘下来。
5. 传动托辊在上、清扫滚刷在下的将清扫器穿在回程皮带上, 再将轴承装回原位,盖上盖板。
6. 用螺栓将支座固定在带式输送机的机架上,将清扫器调节到合适的位置,使传动托辊对皮带有适当的压力,拧紧支座上的锁紧螺钉。
7. 根据锁具螺旋扣及钢丝绳的*大长度,在机架的适当位置焊接螺旋扣拉紧杆,将锁具螺旋扣连接在拉紧杆上,通过螺旋扣调整滚刷的位置,刷毛与皮带的接触深度不宜过大,否则将缩短清扫滚刷的使用寿命。
注:开箱后,若暂时不安装,应将清扫器垫高,避免清扫滚刷的刷毛长时间接触地面,受压变形影响清扫效果。
1. 使用过程中,用户应根据具体情况,制定《维护制度》,定期检查清扫效果和刷毛与皮带的接触深度等,适时调整。
2. 使用过程中刷毛将磨损缩短,当有效部位的刷毛高度小于 30mm, 或清扫效果不理想时,及时更换清扫滚刷。
3. 清扫器累计工作每达 5000 小时,应对清扫器的轴承进行一次清洗或更换润滑脂。
4. 当输送机需要更换或修复输送皮带时,应摘掉清扫滚刷,避免对
清扫滚刷造成损伤,或影响输送皮带的维护工作。
1. 当清扫器的清扫滚刷和传动托辊均出现旋转速度不稳定或不正 常停转现象时,首先检查支座的锁紧螺钉是否松动,再检查传动托辊对皮带的压力是否合适。找到原因后做相应调整。
2. 当清扫器工作时,如果传动支撑有振动现象,应检查两端的传动支撑是否平行。确定原因后做相应调整。
3. 当清扫器停止旋转,而锁紧螺钉及传动托辊对皮带压力均正常时,故障原因应该是内部出现问题。
4. 当清扫器的清扫滚刷反向旋转,而传动托辊旋转方向正常时,故障原因应该是内部出现问题。
5. 内部出现问题时,应由专业技术人员进行诊断处理,或向产品制造商进行咨询。
订货时用户需提供相应输送机型号、带宽,并说明使用环境, 对于在化工、矿井和高粉尘等易燃、易爆的环境下工作,应选用防静电高弹性耐磨尼龙刷丝或耐磨橡胶刷毛。同时可以定做各种非标清扫器



















微信扫一扫加好友
截屏,微信识别二维码关注公众号
微信号:19932387533
(点击微信号复制,添加好友沟通)